PPSLT晶體相關專利——鉭酸鋰單晶及光功能器件
近幾年,周期極化鈮酸鋰晶體PPLN非常流行。除了鈮酸鋰外,周期極化鉭酸鋰晶體也是眾所周知的壓電、線性電光和非線性光學器件應用中最優良和最有用的鐵電材料之一,在許多方面鉭酸鋰還具有與鈮酸鋰相似的特性。日本OXIDE提出了一種在厚度僅為幾毫米左右的LT單晶厚基板中產生完整的極化和反轉的方法。日本OXIDE PPSLT專利英文名稱為“Lithium tantalate single-crystal and photo-functional device”,PPSLT中文名稱為鉭酸鋰單晶及光功能器件,PPMgSLT專利號是US6211999。歡迎找我們索要日本OXIDE PPSLT專利原理,如發現有翻譯錯誤或不準確的地方,歡迎指正。

摘要
PPMgSLT專利發明提供一種周期極化鉭酸鋰晶體,其鐵電極化反轉所需的電壓不大于10kV/mm。即使在如此低的電壓下,其極化也可以精確地周期性反轉,鉭酸鋰晶體光功能器件同樣如此。周期極化鉭酸鋰晶體的Li2O/(Ta2O5 +Li2O)摩爾分數在0.492和0.50之間,周期極化鉭酸鋰晶體光功能器件可以轉換入射到其上的激光射線或可以用作物理存儲器。
發明領域
PPMgSLT發明不僅涉及鉭酸鋰(LiTaO3)單晶在光學信息處理、光學加工、光化學反應、光學儀器控制等各種技術領域中應用激光的眾多應用,還涉及一種包含鉭酸鋰晶體光功能器件,其中晶體的偏振周期性地反轉來縮短或延長入射到該器件上的激光的基本波長。
發明背景
除了鈮酸鋰外,鉭酸鋰也是眾所周知的壓電、線性電光和非線性光學器件應用中最優良和最有用的鐵電材料之一。在許多方面鉭酸鋰還具有與鈮酸鋰相似的特性,比如具有相同的晶體結構和相似的非化學計量性質。雖然通常被稱為“LiTaO3”,但該相存在于廣泛的固溶體范圍內,從接近化學計量值的成分到貧鋰成分。因此,在傳統的直拉法中用于商業晶體生長的同成分熔融成分也從化學計量成分轉向Ta過量成分側。與鈮酸鋰的非化學計量缺陷模型類比,幾乎所有商業生產的鉭酸鋰都應包含大量的Ta抗位缺陷和陽離子空位。
鉭酸鋰單晶的相圖早已為人所知。Miyazawa等人在《晶體生長雜志》10(1971) 276-278中報道了LiTaO3附近的Li2O-Ta2O5相圖。其同成分組成與化學計量組成不一致,相位關系與Li2O-Nb2O5系統非常相似。為了生產具有高成分均勻性的鉭酸鋰單晶,本領域已知的一種常規方法包括從熔劑中旋轉拉晶并同時生長所拉晶,其中熔劑具有同成分熔體組成,使得所生長的晶粒與熔劑平衡以具有相同的成分,并且Li2O/(Ta2O5+Li2O)的摩爾分數為0.4875。由于該方法中生成的鉭酸鋰單晶為多疇狀態,因此,在加熱至居里溫度以上,約600℃的溫度下,沿晶體Z軸方向施加電壓,進行極化處理,使晶體單極化,然后冷卻,再將得到的單疇晶體加工成預定尺寸,用于各種領域。
由于具有良好的電光常數和良好的非線性光學常數,鉭酸鋰單晶作為光調制器、光開關、Q開關、頻率轉換器件等的基板材料而受到廣泛關注。最近,人們特別期待開發能夠通過非線性光學效應將具有近紅外波長的半導體和固態激光器轉換為具有半波長的紫外光或可見光的波導型光學二次諧波產生 (SHG) 器件。其中,研究最多的是包含具有周期性反轉極化結構的鉭酸鋰單晶元件的 SHG 器件,作為光盤的高密度記錄和再現光源。這種類型的 SHG 器件在準相位匹配 (QPM) 系統中驅動,其中基波的傳播常數與高次諧波的傳播常數之間的差異由周期性結構補償以獲得相位匹配。此系統具有轉換效率高、輸出光易平行成束及衍射極限收集、適用材料及波長不受限制等諸多優良特性。為了獲得高效率,QPM的周期結構最好是選SHG系數(d系數)屬性周期性反轉的結構,而鐵電晶體d系數的正負屬性與晶體鐵電極化的極性相對應,因此QPM系統采用極化鐵電疇周期性反轉結構。QPM-SHG系統中可使用非線性光學常數d22及d33,而基于雙折射的相位匹配系統則不能使用非線性光學常數d22及d33,該類QPM-SHG系統具有波長轉換效率高的極大優勢。
與其他非線性光學單晶相比,鉭酸鋰單晶具有較大的非線性光學常數(d33為-26.0pm/V),是目前研究最多的光學器件材料之一。實現由鐵電晶體構成的QPM-SHG器件的最重要的技術是精確地產生周期性的極化反轉疇。鉭酸鋰單晶在基波波長0.8μm附近的相位匹配周期約為4μm左右。然而,通過極化制備的單疇LT(鉭酸鋰)單晶在室溫附近非常穩定,在普通電場中不容易使晶體極性反轉。為此,已報道了一些在不高于晶體居里點的溫度下用各種方法使LT單晶極化反轉的技術。已報道的方法包括:1)SiO2帶電熱處理、2)質子交換熱處理、3)電子束掃描照射、4)施加電壓。已知有許多關于施加電壓方法的報道。其中一篇報道是在Z-cut LT單晶基板的一個表面上設置周期電極,而在其另一表面上設置均勻電極,通過這些電極向晶體基板施加脈沖電壓,從而獲得與周期電極幾乎相同圖案的周期極化反轉。通過將近紅外激光施加到這樣制成的QPM-SHG器件上,可獲得幾mW左右的藍色SHG激光射線。除了SHG之外,由LT單晶組成的QPM器件還被進一步研究應用于近紅外OPO等波長轉換系統。
如上所述,實現由鐵電單晶構成的QPM-SHG器件最重要的技術是精確地產生周期性的極化反轉疇。理想情況下,重要的是增大反轉結構與導波模式的重疊,并降低歸一化匹配誤差,即獲得1/1的極化反轉寬度比。但事實上,由于QPM條件的容差非常窄,如果產生的器件中存在反轉周期不足,則無法實現小型、高效的器件。通過電子束掃描輻照或對鉭酸鋰晶體施加電壓進行晶體的偏振反轉的方法,其優點在于可以形成在晶體厚度方向上幾乎均勻的倒晶格。但即使這樣,獲得完全為1/1的極化反轉寬度比仍然極其困難。此外,該工藝本身的再現性也存在問題。例如,在施加電壓方法中,在Z-cut的鉭酸鋰單晶基板的一個表面上設置周期電極,而在其另一表面上設置均勻電極,并通過這些電極向晶體基板施加脈沖電壓,從而使周期電極正下方的晶體基板區域沿晶體的Z軸方向極化和反轉。然而,在這種情況下,晶體的反轉和極化寬度并不總是與電極寬度相對應,并且生產誤差很大。此外,該方法的另一個問題是,反轉通常會在晶體基板的另一表面上沿Z軸方向形成極化和反轉的中間停止,并且Z切割晶體基板的兩個表面之間的極化和反轉寬度會有所不同。因此,由于這些原因,根據該方法很難生產理想的QPM-SHG器件。
極化和反轉的周期寬度隨目標SHG器件的相位匹配波長而變化。例如,對于長波相位匹配在OPO器件中,要控制的反轉寬度很大,超過10μm左右。因此,與要控制的反轉寬度約為4微米左右的短波器件相比,長波器件的形成相對容易。然而,傳統方法仍然無法實現理想的SHG器件的生產。另一方面,LT單晶需要不低于20kV/mm的高電壓才能實現其極化反轉。對于厚度為0.5mm左右的LT單晶薄基板,可能在整個基板上產生極化和反轉晶格。然而,厚度為幾毫米左右的LT單晶厚基板存在難以在其中產生完整的極化和反轉問題。
發明內容
本發明是為了解決現有技術中存在的上述問題而提出的,其目的在于提供一種鉭酸鋰單晶,其特征在于:其Li2O/(Ta2O5+Li2O)摩爾分數為0.492~0.50之間,且其鐵電極化反轉所需電壓不大于10kV/mm。
本發明還提供了一種包含鉭酸鋰單晶的光功能器件,其中晶體的極化結構周期性地反轉,從而縮短或延長入射到該裝置上的、落在可見光至近紅外范圍內的激光光線的波長,其特征在于,所述鉭酸鋰單晶中Li2O/(Ta2O5+Li2O)的摩爾分數為0.492至0.50之間。
發明人經過刻苦研究,發現控制鉭酸鋰單晶的極化和反轉的問題在于單晶材料本身。基于這一發現,我們完成了上述本發明。確切地說,迄今為止用于極化和反轉的常規LT(鉭酸鋰)單晶基板是鉭過量的鉭酸鋰單晶,其Li2O/(Ta2O5+Li2O)摩爾分數為0.4875。這是因為由于本領域的單晶生長技術的限制,只有這種鉭過量的單晶才可供商業使用。當然,鉭酸鋰單晶的理想組成是Li/Ta比為1/1。現有的LT單晶中,由于鉭成分過多,導致內部存在許多缺陷。發明人已明確,由于LT單晶中存在缺陷,導致表示晶體極化反轉所需電壓與自發極化之間的關系的磁滯不對稱,晶體的極化反轉需要20kV/mm以上的高電壓,缺陷在晶體內部分布不均勻,在缺陷較多的部位極化反轉容易被釘扎,因此,通過施加電壓使現有的LT單晶精確地極化反轉的技術受到限制。
參見圖1,其展示出了鉭酸鋰單晶的非化學計量缺陷模型。其中,Li和Ta陽離子位于氧配位八面體的配體上,氧原子存在于這些八面體的頂點。具有一致熔體組成的LT單晶中含有過量的Ta成分。因此,在該類型的LT單晶中,1%的過量Ta離子占據Li離子位點,在Li位點產生4%的空位,以保持晶體中的電中和。發明人注意到鉭酸鋰單晶中存在大量達到百分之幾的缺陷,并努力研究這些缺陷對晶體特性的重大影響。在高于晶體居里點的高溫下處于順電相的鉭酸鋰單晶中,Li和Ta離子處于中心對稱狀態;而在不高于晶體居里點的溫度下處于鐵電相時,Li和Ta離子在z方向上有一定程度的偏移。根據這些離子的偏移方向,決定了構成晶體的疇的極化方向為正或負。周期性地反轉晶體極化結構的技術是在低溫下對晶體施加電場,強制移動構成晶體的離子。當用該技術處理的晶體具有一致的熔體成分且具有許多非化學計量缺陷時,Li離子很容易擴散并通過晶體中的空位移動,但進入Li位的過量的Ta離子不易移動。因此,出于這些原因,具有這種一致的熔體組成的晶體需要較大的電壓才能使其極化反轉。與此相反,人們認為,具有接近化學計量組成且非化學計量缺陷較少的晶體很容易發生極化反轉。
基于上述情況,本發明第一方面的鉭酸鋰單晶的特征在于:該晶體具有近化學計量組成,其摩爾分數Li2O/(Ta2O5+Li2O)為0.492至0.50之間,晶體中的非化學計量缺陷密度降低,晶體極化反轉所需的電壓不大于10kV/mm,即小于具有同成分熔體組成且缺陷較多的市售鉭酸鋰單晶的極化反轉所需的電壓,并且由于晶體中的缺陷密度很低,因此晶體的極化反轉不會造成釘扎。
本發明的第二方面在于提供一種包含鉭酸鋰單晶的光功能器件,其中晶體的極化結構周期性地反轉,從而縮短或延長入射到該裝置上的激光射線的波長,該波長范圍從近紫外到近紅外,其特征在于,所述鉭酸鋰單晶具有接近化學計量的組成。
附圖的簡要說明

圖1是顯示鉭酸鋰(LT)單晶的非化學計量缺陷模型的圖形視圖。

圖2是比較顯示了具有全等熔融成分的鉭酸鋰(LT)單晶與具有化學計量成分的LT單晶的居里點與鐵電特性之間的關系。

圖3是一張圖,顯示了具有全等熔融成分的鉭酸鋰(LT)單晶的自發極化特性(相對于施加的電壓)和具有化學計量成分的LT單晶的滯后特性。

圖4是示出具有鉭酸鋰(LT)單晶襯底的周期性偏振反轉SHG光功能器件的圖形視圖。

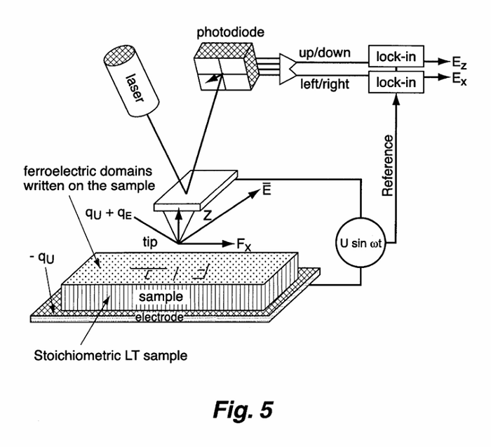
圖5是示出具有鉭酸鋰(LT)單晶襯底的疇反轉鐵電存儲器件的圖形視圖。
具體實施方式
現在,結合其較佳實施例對本發明進行了更詳細的描述。
本發明的鉭酸鋰單晶的摩爾分數為Li2O/(Ta2O5+Li2O),其摩爾分數在0.492至0.52之間,其化學成分比普通鉭酸鋰單晶更接近其化學計量組成,其組成與Li2O/(Ta2O5+Li2O)為0.4875。因此,本發明的晶體具有高度的晶體完美度,同時具有較低的缺陷密度。此外,它具有良好的透光特性,其上的光散射很小,其偏振反轉所需的電壓可能很小或可能為 10 kV/mm 或更低。因此,晶體在較小的范圍內進行精確的偏振反轉是可能的。因此,使用化學計量成分的本發明的鉭酸鋰單晶,可以提供一種波長轉換裝置,該裝置能夠有效地將落在從近紫外射線到長波、近紅外線的寬范圍內的光線的波長轉換。
例如,為了生產本發明的鉭酸鋰單晶,可采用的是一種普通的拉取方法,其中晶體從具有大大Li-過量成分的通量中拉出(例如,具有Li2O/(Ta2O5+Li2O)的摩爾分數為0.56至0.60,優選0.58)。然而,為了更準確地控制生長晶體中的非化學計量缺陷密度以及生長晶體的結構,生長大的鉭酸鋰單晶,需要一種雙坩堝單晶生長方法,其中原料連續地被送入坩堝。
除了上述方法外,本文還采用了一種拉取方法,其中從具有化學計量成分或相等熔融成分的通量中拉出晶體,向其中加入不小于5 wt %的K2O的添加劑通量,甚至一種頂部種子溶液生長(TSSG)方法。
本文下結合以下實施例對本發明作進一步描述,然而,這些實施例并不用于限制本發明的范圍。
示例1
從Li2O-Ta2O5相圖與Li2O-Nb2O5體系的類比可以看出,化學計量的LiTaO3晶體與富Li熔體Li2O/(Ta2O5+Li2O)在0.56至0.60之間平衡共存,優選0.58)。因此,化學計量的鉭酸鋰晶體必須從適當成分的富鋰熔體中生長出來。發明者設計了一種生長系統,稱為雙坩堝直拉法(DCCZ),配備了自動供粉系統,以保持富鋰熔體,化學計量的鉭酸鋰晶體從中結晶。化學計量的鉭酸鋰晶體是通過直拉技術從內坩堝中的富鋰熔體中生長出來的。化學計量的鉭酸鋰粉末通過自動粉末供應系統以與生長晶體重量增加相同的速率連續供應到外部坩堝。
制備了市售的粉狀原料,純度為Li2CO3和Ta2O5。它們以 Li2CO3/Ta2O5 的比例混合,介于 0.56/0.44 和 0.60/0.40 之間,得到 Li-過量的混合物,或以 Li2CO3/Ta2O5=0.50/0.50 的比例混合,得到化學計量混合物。這些混合物在1 ton/cm2的靜水壓力下通過等靜壓橡膠壓成型單獨成型,并將所得成型品在約1050°C和1250°C的氧氣中燒結,分別得到用于拉晶和喂料粉末的燒結棒。接下來,根據雙坩堝方法生長具有近化學計量成分的鉭酸鋰單晶,其中原料連續地被送入坩堝中。準確地說,將晶種放入具有Li-過量組成的通量中(例如,在雙坩堝中具有0.56至0.60的Li2O/(Ta2O5+Li2O)的摩爾分數,并以0.5 mm / hr的拉動速率和4 rpm的晶體公轉向上拉,以獲得具有近化學計量成分的鉭酸鋰單晶,其非化學計量缺陷密度最小化。
為了更準確地控制生長晶體中的非化學計量缺陷密度以及生長晶體的結構,將摩爾分數為Li2O/(Ta2O5+Li2O)為0.50的化學計量混合物自動送入外坩堝,同時與生長晶體的量相對應。這樣生長約1.5周后,得到的是無色透明的鉭酸鋰單晶棒,沒有裂紋,直徑為40-55 mm,長度為70 mm。
就其內部結構而言,生長的單晶棒是多疇條件的。首先將生長的晶體在1200°C的空氣氣氛中退火24小時以釋放應變,然后通過傳統的現場冷卻方法將升至居里溫度以上。本文獲得的鉭酸鋰(LT)單晶樣品對其成分進行了化學分析,并測量了其居里點。居里溫度通過差熱分析(DTA)測量。從富鋰熔體(Li2O/(Ta2O5+Li2O)=0.49)生長的晶體的居里溫度為685°C,而商業生產的全等熔體成分Li2O/(Ta2O5+Li2O)=0.4875)晶體的居里溫度為601°C。另一方面,由 Li2CO3 和 Ta2O5 粉末的化學計量混合物燒結的粉末顯示出 690° C 的居里溫度。根據獲得的數據,對樣品進行了評估。所得到的晶體的組成是不同的,取決于通量的組成。本文從Li-過量熔融成分Li2O/(Ta2O5+Li2O)=0.56-0.60)中獲得的所有晶體樣品均具有接近化學計量的成分,Li2O/(Ta2O5+Li2O)的摩爾分數在0.492和0.50之間。 此外,還發現,與具有相同熔融成分的傳統LT單晶相比,本文獲得的晶體樣品都具有最小的非化學計量缺陷密度,并且每個晶體樣品都具有極好的成分均勻性。
接下來,將每個晶體樣品切割成尺寸為10 mm×10 mm,厚度為0.5 mm的試片,然后對兩個z表面進行拋光。在每個試件的兩個Z表面上形成一個電極,并通過電極向試樣施加變化的電壓,然后根據通過試件的電流變化計算出試件的極化反轉電壓。數據如圖所示。2.如圖2所示,已知本文制備的LT單晶樣品的極化在低于10 kV/mm的電壓下反轉,對于化學計量成分為1.4 kV/mm,而具有相同熔融成分的常規LT單晶樣品的極化反轉所需的電壓不低于20 kV/mm。本發明樣品的自發極化與常規樣品的自發極化沒有區別。這意味著本發明的LT單晶適用于應用傳統LT單晶的所有用途。圖3顯示了本發明的LT單晶的自發極化相對于施加的電壓的滯后和傳統LT單晶的自發極化,由此可以知道,本發明的LT單晶的滯后比傳統的LT單晶的滯后更對稱。這意味著本發明的LT單晶在晶體的偏振反轉過程中具有優異的可控性。
示例2
本文生產的各種光功能器件包括已在實施例1中制備的鉭酸鋰(LT)單晶襯底。在這些器件中,襯底的偏振反轉是周期性變化的。首先生產的是QPM-SHG設備,能夠從波長為840nm或680nm的近紅外線的基波中發射藍光或近紫外光。制備了Z-cut鉭酸鋰(LT)單晶襯底,其中兩個表面都經過拋光,每個襯底的直徑為2英寸,厚度為0.5至2毫米。根據光刻技術,在它們的 +Z 表面上,形成的是厚度為 500 nm 的 Al 薄膜的梳狀 ike 電極圖案。為了形成有效產生藍色諧波和近紫外諧波的初級QPM結構,電極圖案的周期間距分別為3.6 μm和1.7 μm。接下來,將厚度為 0.5 μm 的絕緣膜覆涂在 Thus-pattemed +Z 表面,并在 350°C 下加熱 8 小時進行儲存處理。
接下來,通過在其兩個Z表面上的氯化鋰水溶液將襯底夾在電極之間,并向其施加高壓脈沖。通過1 kΩ電阻監測流過鉭酸鋰(LT)晶體的電流。在包含本發明的鉭酸鋰(LT)單晶的樣品中,晶體中的疇通過施加1.4 kV/mm至10 KV/mm的小電壓反轉,這是應用于傳統LT器件的較低電壓用于疇反轉。在形成疇倒晶格后,將晶體去除,并將晶體的側面,Y表面進行拋光,并用氫氟酸和硝酸的混合物進行蝕刻。然后,檢查了在蝕刻表面中看到的域反轉條件。通過優化脈沖寬度和施加電壓的電流密度,證實了周期域與反轉寬度之比和域分布得到了很好的調節,使得周期域與偏振反轉寬度之比可以達到1/1的理想比值,并且在整個樣品區域內都具有精度。周期疇反演結構不僅在厚度為0.5 mm的薄樣品中準確形成,而且在厚度較大的厚樣品中也準確形成,認為這些樣品有利于內共振型波長轉換器件的制備。
接下來,將晶圓切出并拋光其邊緣。對于這些樣品,應用的是半導體激光器。在該測試中,發現長度為 10 mm 的樣品在高轉換效率下具有 SHG 輸出的功率。本文產生的器件樣品的SH光輸出功率不會隨著時間的推移而降低,這與包含具有相同熔融成分的傳統單晶襯底的QPM-SHG器件的光輸出功率不同。
迄今為止,已經說過,傳統的QPM-SHG器件的SH光輸出功率的下降是由于器件中的單晶材料本身受到光學損傷。雖然目前尚未得到澄清,但以下三個原因可以考慮用于穩定輸出的QPM-SHG器件,該器件包含本發明的化學計量成分鉭酸鋰單晶的襯底。第一個原因是本發明的偏振反轉裝置具有幾μm的小偏振反轉寬度,并且偏振與反轉寬度之比為1/1的完全比。因此,即使器件在一定程度上受到光學損傷,在一個域中具有 Z 軸向各向異性的損傷區域也可能被相鄰域中的其他區域所抵消。第二個原因是,由于本發明的化學計量成分LT單晶與傳統的全等熔融成分晶體相比具有低得多的非化學計量缺陷密度,因此前者的光載體受光散射的影響很小,具有較大的遷移率,因此本發明的HE晶體的光電導率很高。就像向其中添加含有MgO的鈮酸鋰單晶一樣,人們認為,因此具有高光電導率的本發明晶體可以消除可能引起光學損傷的局部光載流子,從而對本發明的晶體造成很小的光學損傷。 第三個原因是,由于化學計量成分晶體具有較低的非化學計量缺陷密度,因此它具有很少的光散射因子和很少的宏觀晶體缺陷,例如條紋,因此晶體對光的吸收很小。特別是,由于高功率SHG器件中基波和諧波的光吸收增加,熱透鏡效應將對高功率SHG器件造成光學損傷。然而,據信,本發明的化學計量LT單晶沒有這些問題,因為它的晶體完美度高,并且在寬波長區域內的光吸收非常小。
本文已詳細描述了電壓施加方法,作為一個示例,其中晶體極化在不高于晶體的居里點的溫度下反轉,然而,這并不是限制性的。除公開的方法外,本發明還適用于1)SiO2帶電熱處理,2)質子交換熱處理或3)電子束掃描輻照的任何其他方法。由于本發明的LT單晶的化學計量組成是調控良好的、完美的晶體,因此在這些方法中可以準確地實現包括該晶體和具有周期性偏振反轉晶格的光學器件。
在本文詳細描述的示例中,生產的是能夠從波長為840nm或680nm的近紅外基波產生藍色或近紫外光的QPM-SHG器件。然而,在本發明中,基本波并不局限于這兩者。本發明適用于落在鉭酸鋰單晶透明且晶體的相位匹配可能的范圍內的任何其他波。特別是化學計量的鉭酸鋰可能是作為QPM-SHG襯底產生近紫外和藍光激光的最佳材料,因為它具有最短的吸收邊緣,為260 nm,分別比同等的鉭酸鋰和鈮酸鋰晶體短約15 nm和30 nm。此外,包括本發明的鉭酸鋰單晶的光功能器件,其中晶體的偏振周期性地反轉,從而縮短或延長激光的波長,該激光的波長落在從近紫外射線到近紅外線的范圍內,并入射到該器件上, 不僅限于二次諧波產生(SHG)器件,還可以用于遙感、氣體檢測等其他各個領域,例如,作為光學參量諧振器件。
示例3
本文生產的各種鐵電疇存儲器件包括已在實施例1中制備的鉭酸鋰(LT)單晶襯底。在這些器件中,襯底中小尺寸的極化反轉鐵電疇被用作存儲器,如圖所示。5.如實施例1和實施例2所述,本發明中近化學計量的鉭酸鋰具有易于制備鐵電疇極化反轉的優點,這對于傳統的同色鉭酸鋰單晶來說是不容易的。此外,鉭酸鋰的鐵電疇要小得多,小于微米尺寸,而鈮酸鋰的疇尺寸更大,只有幾厘米。這意味著鉭酸鋰具有制造小尺寸鐵電疇極化反轉的潛力,可用作鐵電存儲器。首先,制備了Z-cut鉭酸鋰(LT)單晶襯底,其兩個表面都經過拋光,每個襯底的尺寸為10 mm×20 mm,厚度為0.2至1 mm。如圖5所示,使用Maxwell應力掃描力顯微鏡來可視化疇結構。在其 +Z 表面上,在導電尖端和樣品的底部電極之間施加交流電壓。額外的靜電力導致懸臂的微小振動。除了形貌表面特征外,還監測感應振動的振幅和相位,并代表樣品的極化狀態。因此,可以研究相變過程中的表面動力學以及鐵電疇的形成. 本發明的鐵電鉭酸鋰樣品的直接改性是用掃描力顯微鏡開始的。在導電尖端和對電極之間施加合適的電場會產生永久性極化區域。這些結構域可以在低于居里溫度的任何溫度下成核。這在很大程度上取決于特定溫度下的矯頑場強和所使用的材料。在這一點上,本發明中幾乎化學計量的鉭酸鋰可能是具有較低疇開關矯頑場的最佳襯底。作為示例,將徽標寫入鉭酸鋰襯底中,如圖所示。5. 雖然線寬接近小于 700 nm 的值,但時間穩定性也顯著提高,為制造納米尺度的物理器件提供了可能性。
如上文所述,本發明提供一種鉭酸鋰單晶,其極化反轉需要不大于10 kV/mm的低電壓,并且即使在這樣的低電壓下,極化也可以周期性地精確地反轉,并提供一種包含晶體的光功能器件。因此,本發明廣泛適用于使用激光的光學信息處理、光學工作、光化學反應、光學儀器控制等各個領域的各種光學技術。
雖然已經詳細描述了本發明并參照了其具體實施方式,但對于本領域的技術人員來說,可以明顯地發現,可以在不脫離其精神和范圍的情況下,對其中進行各種改變和修改。
相關產品:PPSLT晶體
詳情鏈接:http://m.haoyi1688.cn/optical/quantum-components.html
CLBO晶體:深紫外激光的“光學心臟”
量子光,低溫晶體:PPKTP的優勢
超越傳統非線性晶體:PP-Mg:SLT在寬譜頻率轉換中的優勢
攻克灰跡效應難題的高性能非線性光學材料—HGTR KTP晶體
PP-MgSLT晶體如何實現高效全波段激光轉換
重塑光子糾纏:HP APKTP晶體如何開啟量子光源新紀元
PPKTP:量子光源的“心臟”——驅動未來技術的精密晶體
常溫條件下KTP晶體應用于1319nm激光三倍頻相位匹配角的測量
PPLN晶體1560nm激光倍頻過程的熱效應分析

